Douglas Model GL2
Douglas Model 42L2
Douglas Model 92L2
Douglas Model 152L2
Douglas VBA
Douglas GS150
Owner's Manuals Home
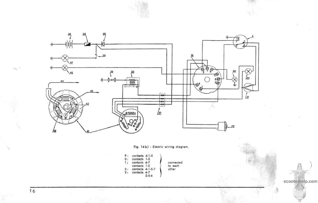
This manual was provided to scooter shops for Vespas made under license in the UK by Douglas and covers all aspects of repair and service for the VS2T, VS3T, VS4T and German VD2TS versions. Thanks to the reader who sent me the disk of scans.
Or click here for a 13.1 MB PDF file.